时间:2015-04-20更新时间:2015-04-20
如果您想了解我们的产品,可以随时拨打我公司的销售热线或点击下方按钮在线咨询价格!
立即拨打电话享更多优惠:0371-67772626
近年来随着入选矿物品位的逐年降低,以及为了从不同原料中综合回收有价金属,我们天博选矿设备厂家根据螺旋溜槽的选别原理研制了适用于回收微细粒多种矿物的多层自动溜槽选矿设备、提高资源的利用率、使矿产资源得到合理有效的开发利用具有十分重要的现实意义。

多层自动溜槽设备由给矿装置、给水装置、矿浆分配器、框架、槽体、均分器、精矿受矿漏斗、尾矿受矿漏斗、底座、溜槽床面及溜槽床面调坡装置组成。槽体给矿端安装有矿浆均分器、冲洗水管,且分别与给矿装置和给水装置相连,溜槽床面用钢板或用轻而坚硬的聚乙烯板、玻璃钢板或用柔软具有一定弹性的材料制成,溜槽床面长2800mm、宽1000mm、槽体高90mm。每个框架内装设有2排溜槽,每排20层一样的溜槽床面,每层溜槽床面由一个平面或多个曲面组合而成,每层溜槽均分成2个溜槽,溜槽安装在支架支撑上,20层溜槽床面的总面积112m2、高3m,占地面积8m2。床面上下层的垂直间距为50mm,便于观察和调坡卸矿。从槽体尾端排出的重选精矿及重选尾矿,分别流经精矿受矿漏斗和尾矿受矿漏斗自动排到指定位置。调坡装置位于槽体给矿端和框架之间。多层自动溜槽结构见图1。

矿浆沿溜槽斜面流动是借矿物颗粒及重选介质自身重力的作用发生,属于无压流动。在稳定的矿浆浓度和矿浆量的条件下,流膜作等速流动,呈层流或带有濡流特性的流膜。矿浆流速较低约20mm/s,矿浆流厚度约2mm,回收粒度下限达到8μm。矿浆在沿溜槽床面流动过程中借重力分力流动形成的剪切作用,使粒群进行松散分层,重矿物沉积在溜槽床面,间断排矿收集成为精矿产品,轻矿物被上层矿浆流带走成为尾矿。

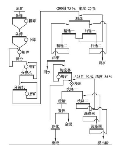
黑龙江乌拉嘎金矿矿石属难选矿石,现采用两段闭路磨矿,浮选为一次粗选、三次精选、二次扫选,浮选精矿氰化浸出—逆流洗涤—贵液锌粉置换提金工艺,处理矿量为1200t/d。通过对黑龙江乌拉嘎金矿矿石可选性及工艺流程的研究,以及对浮选精矿浸渣特性的分析,采用新研制的多层自动调坡平面溜槽床面对浮选精矿浸渣进行工业生产。采用重选法回收其中的自然金、黄铁矿、黄铜矿等金属矿物,以及金属矿物与脉石矿物连生体中的金,提高选矿回收率指标。选矿生产工艺流程及浮选精矿浸渣在流程中的产出位置见下图。

多层自动调坡平面溜槽工业试验流程
采用重选法用新研制的多层自动调坡平面溜槽实现了回收浮选精矿浸渣中的自然金、黄铁矿及其他金属矿物。选用黑龙江乌拉嘎金矿浮选精矿浸渣,采用新研制的多层自动调坡平面溜槽进行工业试验,取得了比多层自动固定坡度平面溜槽效果更好的指标,给矿持续时间为5h,处理矿量和回收率均有明显增加。
采用多层自动调坡平面溜槽,重选可选出产率为40%左右重选精矿,有效地回收了浮选精矿浸渣中的黄铁矿等金属矿物,试验结果见下表。从试验结果可以看出,在同样的原矿品位和操作条件下,随着精矿产率的增加,精矿品位和富集比降低,精矿回收率提高。若降低精矿产率,则精矿品位和富集比增加,精矿回收率降低。

由此可见,天博多层自动溜槽用于重选回收自然金及密度较大的其他金属矿物,比采用旋流器、摇床、螺旋溜槽等重选设备具有富集比及精矿产率可调节的幅度较大、回收率高、回收金属的粒度下限小、生产成本低等优点。用于回收黑龙江乌拉嘎金矿浮选精矿浸渣中的黄铁矿等金属矿物取得了理想的经济技术指标。